Цвет по
умолчанию:
Серый
умолчанию:
Серый
Массовый сегмент. Отлично показал себя в освещении типовых жилых микрорайонов
Ударопрочное защитное стекло: светостабилизированный поликарбонат, сохраняет коэффициент пропускания с течением времени
Корпус-крышка: термостойкая ударопрочная пластмасса
Отражатель: алюминиевый анодированный, с высоким коэффициентом отражения
Основание: стальное с порошковым покрытием, устойчивое к агрессивной среде
Цветовая температура, цветопередача и световой поток определяются лампой. Лампа в комплект поставки не входит.
Электрические
Номинальная мощность
250 Вт
Напряжение сети
230 ± 10% В
Частота питания
50 Гц
Коэффициент мощности, не менее
0,85
Класс защиты от поражения электрическим током
1
Светотехнические
Световой поток
13000 лм
Коэффициент полезного действия
75 %
Тип КСС
широкая боковая
Параметры источника света
Срок службы при температуре 25° С
10000 ч
Эксплуатационные
Тип источника света
ДРЛ
Количество основных источников света
1
Патрон
Е40
Способ установки светильника
Консольный
Климатическое исполнение
У1
Степень защиты светильника
IP54
Степень защиты оптического отсека
IP54
Степень защиты отсека ПРА
IP23
Тип ПРА
E (электромагнитный источник)
Тип рассеивателя
прозрачный
Масса
5,4 кг
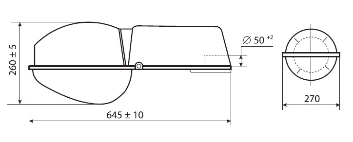
Габариты ДхШхВ
645x270x260 мм
Срок службы светильника
10 лет
Гарантийный срок
18 мес
Период разгорания до 100% светового потока
3-8 мин
Упаковка светильника:
IES
26.74 KB .IES
РКУ21-250-003 Гелиос : ШБ (с/стеклом)
Сертификат ТР ТС
544.25 KB .PDF
ТР ТС 04/2011, ТР ТС 020/2011
Сертификат ЕАЭС
371.66 KB .PDF
Декларация соответствия ТР ЕАЭС 037/2016












